
MIL-DTL-81963C
NOTES:
1.
Dimensions are in inches. Metric equivalents are given for general information only.
2.
Unless otherwise specified, tolerances shall be:
2 place decimals ± .02
3 place decimals + .010 -.000
3.
Three (3) threaded holes equally spaced on a diameter appropriate for the mounting hardware used.
4.
Mounting hardware clamp assembly, as specified in MS17183 or equivalent, dimensioned for the particular
servocomponent.
5.
Slot in base shall be light press fit with plate.
FIGURE 4. Standard test fixture for servocomponents size 23 and larger Continued.
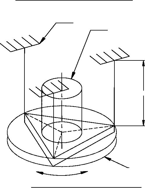
MOUNTING SURFACE
ROTOR
AXIS OF
ROTATION
L
r
r
r
PLATE
FIGURE 5. Moment of inertia by trifilar suspension with rotor in place.
32
For Parts Inquires call Parts Hangar, Inc (727) 493-0744
© Copyright 2015 Integrated Publishing, Inc.
A Service Disabled Veteran Owned Small Business